day12-SpringBootWeb登录认证
案例-登录认证
在前面的课程中,我们已经实现了部门管理、员工管理的基本功能,但是大家会发现,我们并没有登录,就直接访问到了Tlias智能学习辅助系统的后台。 这是不安全的,所以我们今天的主题就是登录认证。 最终我们要实现的效果就是用户必须登录之后,才可以访问后台系统中的功能。

1. 登录功能
1.1 需求

在登录界面中,我们可以输入用户的用户名以及密码,然后点击 "登录" 按钮就要请求服务器,服务端判断用户输入的用户名或者密码是否正确。如果正确,则返回成功结果,前端跳转至系统首页面。
1.2 接口文档
我们参照接口文档来开发登录功能
基本信息
请求参数
参数格式:application/json
参数说明:
username
string
必须
用户名
password
string
必须
密码
请求数据样例:
响应数据
参数格式:application/json
参数说明:
code
number
必须
响应码, 1 成功 ; 0 失败
msg
string
非必须
提示信息
data
string
必须
返回的数据 , jwt令牌
响应数据样例:
1.3 思路分析

登录服务端的核心逻辑就是:接收前端请求传递的用户名和密码 ,然后再根据用户名和密码查询用户信息,如果用户信息存在,则说明用户输入的用户名和密码正确。如果查询到的用户不存在,则说明用户输入的用户名和密码错误。
1.4 功能开发
LoginController
EmpService
EmpServiceImpl
EmpMapper
1.5 测试
功能开发完毕后,我们就可以启动服务,打开postman进行测试了。
发起POST请求,访问:http://localhost:8080/login

postman测试通过了,那接下来,我们就可以结合着前端工程进行联调测试。
先退出系统,进入到登录页面:

在登录页面输入账户密码:

登录成功之后进入到后台管理系统页面:

2. 登录校验
2.1 问题分析
我们已经完成了基础登录功能的开发与测试,在我们登录成功后就可以进入到后台管理系统中进行数据的操作。
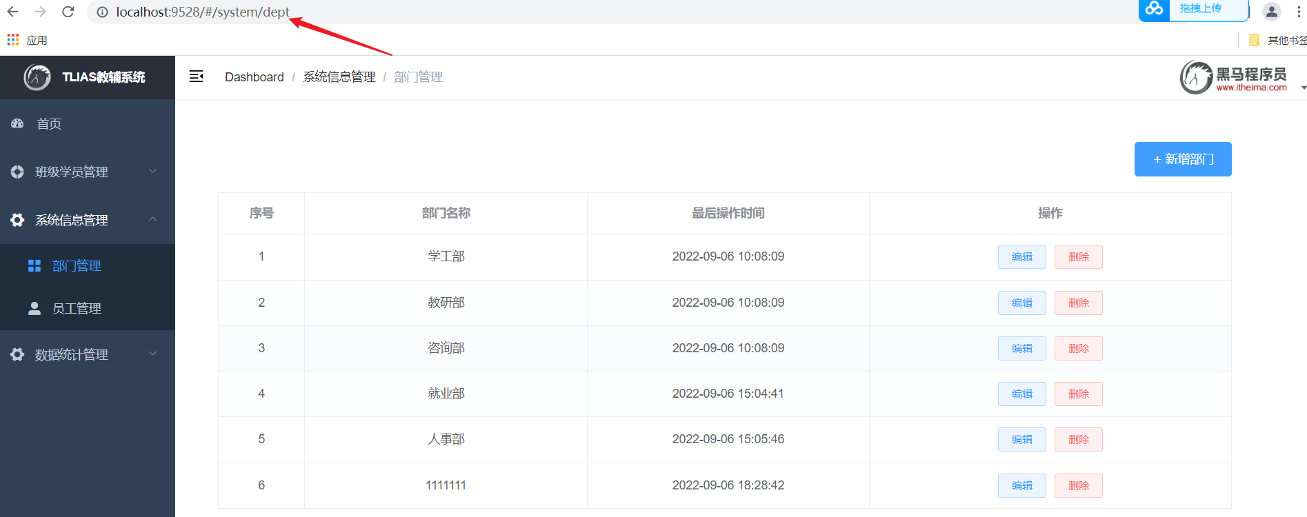
但是当我们在浏览器中新的页面上输入地址:http://localhost:9528/#/system/dept,发现没有登录仍然可以进入到后端管理系统页面。

而真正的登录功能应该是:登陆后才能访问后端系统页面,不登陆则跳转登陆页面进行登陆。
为什么会出现这个问题?其实原因很简单,就是因为针对于我们当前所开发的部门管理、员工管理以及文件上传等相关接口来说,我们在服务器端并没有做任何的判断,没有去判断用户是否登录了。所以无论用户是否登录,都可以访问部门管理以及员工管理的相关数据。所以我们目前所开发的登录功能,它只是徒有其表。而我们要想解决这个问题,我们就需要完成一步非常重要的操作:登录校验。

什么是登录校验?
所谓登录校验,指的是我们在服务器端接收到浏览器发送过来的请求之后,首先我们要对请求进行校验。先要校验一下用户登录了没有,如果用户已经登录了,就直接执行对应的业务操作就可以了;如果用户没有登录,此时就不允许他执行相关的业务操作,直接给前端响应一个错误的结果,最终跳转到登录页面,要求他登录成功之后,再来访问对应的数据。
了解完什么是登录校验之后,接下来我们分析一下登录校验大概的实现思路。
首先我们在宏观上先有一个认知:
前面在讲解HTTP协议的时候,我们提到HTTP协议是无状态协议。什么又是无状态的协议?
所谓无状态,指的是每一次请求都是独立的,下一次请求并不会携带上一次请求的数据。而浏览器与服务器之间进行交互,基于HTTP协议也就意味着现在我们通过浏览器来访问了登陆这个接口,实现了登陆的操作,接下来我们在执行其他业务操作时,服务器也并不知道这个员工到底登陆了没有。因为HTTP协议是无状态的,两次请求之间是独立的,所以是无法判断这个员工到底登陆了没有。

那应该怎么来实现登录校验的操作呢?具体的实现思路可以分为两部分:
在员工登录成功后,需要将用户登录成功的信息存起来,记录用户已经登录成功的标记。
在浏览器发起请求时,需要在服务端进行统一拦截,拦截后进行登录校验。
想要判断员工是否已经登录,我们需要在员工登录成功之后,存储一个登录成功的标记,接下来在每一个接口方法执行之前,先做一个条件判断,判断一下这个员工到底登录了没有。如果是登录了,就可以执行正常的业务操作,如果没有登录,会直接给前端返回一个错误的信息,前端拿到这个错误信息之后会自动的跳转到登录页面。
我们程序中所开发的查询功能、删除功能、添加功能、修改功能,都需要使用以上套路进行登录校验。此时就会出现:相同代码逻辑,每个功能都需要编写,就会造成代码非常繁琐。
为了简化这块操作,我们可以使用一种技术:统一拦截技术。
通过统一拦截的技术,我们可以来拦截浏览器发送过来的所有的请求,拦截到这个请求之后,就可以通过请求来获取之前所存入的登录标记,在获取到登录标记且标记为登录成功,就说明员工已经登录了。如果已经登录,我们就直接放行(意思就是可以访问正常的业务接口了)。
我们要完成以上操作,会涉及到web开发中的两个技术:
会话技术
统一拦截技术
而统一拦截技术现实方案也有两种:
Servlet规范中的Filter过滤器
Spring提供的interceptor拦截器
下面我们先学习会话技术,然后再学习统一拦截技术。
2.2 会话技术
介绍了登录校验的大概思路之后,我们先来学习下会话技术。
2.2.1 会话技术介绍
什么是会话?
在我们日常生活当中,会话指的就是谈话、交谈。
在web开发当中,会话指的就是浏览器与服务器之间的一次连接,我们就称为一次会话。
在用户打开浏览器第一次访问服务器的时候,这个会话就建立了,直到有任何一方断开连接,此时会话就结束了。在一次会话当中,是可以包含多次请求和响应的。
比如:打开了浏览器来访问web服务器上的资源(浏览器不能关闭、服务器不能断开)
第1次:访问的是登录的接口,完成登录操作
第2次:访问的是部门管理接口,查询所有部门数据
第3次:访问的是员工管理接口,查询员工数据
只要浏览器和服务器都没有关闭,以上3次请求都属于一次会话当中完成的。

需要注意的是:会话是和浏览器关联的,当有三个浏览器客户端和服务器建立了连接时,就会有三个会话。同一个浏览器在未关闭之前请求了多次服务器,这多次请求是属于同一个会话。比如:1、2、3这三个请求都是属于同一个会话。当我们关闭浏览器之后,这次会话就结束了。而如果我们是直接把web服务器关了,那么所有的会话就都结束了。
知道了会话的概念了,接下来我们再来了解下会话跟踪。
会话跟踪:一种维护浏览器状态的方法,服务器需要识别多次请求是否来自于同一浏览器,以便在同一次会话的多次请求间共享数据。
服务器会接收很多的请求,但是服务器是需要识别出这些请求是不是同一个浏览器发出来的。比如:1和2这两个请求是不是同一个浏览器发出来的,3和5这两个请求不是同一个浏览器发出来的。如果是同一个浏览器发出来的,就说明是同一个会话。如果是不同的浏览器发出来的,就说明是不同的会话。而识别多次请求是否来自于同一浏览器的过程,我们就称为会话跟踪。
我们使用会话跟踪技术就是要完成在同一个会话中,多个请求之间进行共享数据。
为什么要共享数据呢?
由于HTTP是无状态协议,在后面请求中怎么拿到前一次请求生成的数据呢?此时就需要在一次会话的多次请求之间进行数据共享
会话跟踪技术有两种:
Cookie(客户端会话跟踪技术)
数据存储在客户端浏览器当中
Session(服务端会话跟踪技术)
数据存储在储在服务端
令牌技术
2.2.2 会话跟踪方案
上面我们介绍了什么是会话,什么是会话跟踪,并且也提到了会话跟踪 3 种常见的技术方案。接下来,我们就来对比一下这 3 种会话跟踪的技术方案,来看一下具体的实现思路,以及它们之间的优缺点。
2.2.2.1 方案一 - Cookie
cookie 是客户端会话跟踪技术,它是存储在客户端浏览器的,我们使用 cookie 来跟踪会话,我们就可以在浏览器第一次发起请求来请求服务器的时候,我们在服务器端来设置一个cookie。
比如第一次请求了登录接口,登录接口执行完成之后,我们就可以设置一个cookie,在 cookie 当中我们就可以来存储用户相关的一些数据信息。比如我可以在 cookie 当中来存储当前登录用户的用户名,用户的ID。
服务器端在给客户端在响应数据的时候,会自动的将 cookie 响应给浏览器,浏览器接收到响应回来的 cookie 之后,会自动的将 cookie 的值存储在浏览器本地。接下来在后续的每一次请求当中,都会将浏览器本地所存储的 cookie 自动地携带到服务端。

接下来在服务端我们就可以获取到 cookie 的值。我们可以去判断一下这个 cookie 的值是否存在,如果不存在这个cookie,就说明客户端之前是没有访问登录接口的;如果存在 cookie 的值,就说明客户端之前已经登录完成了。这样我们就可以基于 cookie 在同一次会话的不同请求之间来共享数据。
我刚才在介绍流程的时候,用了 3 个自动:
服务器会 自动 的将 cookie 响应给浏览器。
浏览器接收到响应回来的数据之后,会 自动 的将 cookie 存储在浏览器本地。
在后续的请求当中,浏览器会 自动 的将 cookie 携带到服务器端。
为什么这一切都是自动化进行的?
是因为 cookie 它是 HTP 协议当中所支持的技术,而各大浏览器厂商都支持了这一标准。在 HTTP 协议官方给我们提供了一个响应头和请求头:
响应头 Set-Cookie :设置Cookie数据的
请求头 Cookie:携带Cookie数据的

代码测试
A. 访问c1接口,设置Cookie,http://localhost:8080/c1

我们可以看到,设置的cookie,通过响应头Set-Cookie响应给浏览器,并且浏览器会将Cookie,存储在浏览器端。

B. 访问c2接口 http://localhost:8080/c2,此时浏览器会自动的将Cookie携带到服务端,是通过请求头Cookie,携带的。

优缺点
优点:HTTP协议中支持的技术(像Set-Cookie 响应头的解析以及 Cookie 请求头数据的携带,都是浏览器自动进行的,是无需我们手动操作的)
缺点:
移动端APP(Android、IOS)中无法使用Cookie
不安全,用户可以自己禁用Cookie
Cookie不能跨域
跨域介绍:
现在的项目,大部分都是前后端分离的,前后端最终也会分开部署,前端部署在服务器 192.168.150.200 上,端口 80,后端部署在 192.168.150.100上,端口 8080
我们打开浏览器直接访问前端工程,访问url:http://192.168.150.200/login.html
然后在该页面发起请求到服务端,而服务端所在地址不再是localhost,而是服务器的IP地址192.168.150.100,假设访问接口地址为:http://192.168.150.100:8080/login
那此时就存在跨域操作了,因为我们是在 http://192.168.150.200/login.html 这个页面上访问了http://192.168.150.100:8080/login 接口
此时如果服务器设置了一个Cookie,这个Cookie是不能使用的,因为Cookie无法跨域
区分跨域的维度:
协议
IP/协议
端口
只要上述的三个维度有任何一个维度不同,那就是跨域操作
举例:
http://192.168.150.200/login.html ----------> https://192.168.150.200/login [协议不同,跨域]
http://192.168.150.200/login.html ----------> http://192.168.150.100/login [IP不同,跨域]
http://192.168.150.200/login.html ----------> http://192.168.150.200:8080/login [端口不同,跨域]
http://192.168.150.200/login.html ----------> http://192.168.150.200/login [不跨域]
2.2.2.2 方案二 - Session
前面介绍的时候,我们提到Session,它是服务器端会话跟踪技术,所以它是存储在服务器端的。而 Session 的底层其实就是基于我们刚才所介绍的 Cookie 来实现的。
获取Session

image-20230112105938545 如果我们现在要基于 Session 来进行会话跟踪,浏览器在第一次请求服务器的时候,我们就可以直接在服务器当中来获取到会话对象Session。如果是第一次请求Session ,会话对象是不存在的,这个时候服务器会自动的创建一个会话对象Session 。而每一个会话对象Session ,它都有一个ID(示意图中Session后面括号中的1,就表示ID),我们称之为 Session 的ID。
响应Cookie (JSESSIONID)

image-20230112110441075 接下来,服务器端在给浏览器响应数据的时候,它会将 Session 的 ID 通过 Cookie 响应给浏览器。其实在响应头当中增加了一个 Set-Cookie 响应头。这个 Set-Cookie 响应头对应的值是不是cookie? cookie 的名字是固定的 JSESSIONID 代表的服务器端会话对象 Session 的 ID。浏览器会自动识别这个响应头,然后自动将Cookie存储在浏览器本地。
查找Session

image-20230112101943835 接下来,在后续的每一次请求当中,都会将 Cookie 的数据获取出来,并且携带到服务端。接下来服务器拿到JSESSIONID这个 Cookie 的值,也就是 Session 的ID。拿到 ID 之后,就会从众多的 Session 当中来找到当前请求对应的会话对象Session。
这样我们是不是就可以通过 Session 会话对象在同一次会话的多次请求之间来共享数据了?好,这就是基于 Session 进行会话跟踪的流程。
代码测试
A. 访问 s1 接口,http://localhost:8080/s1

请求完成之后,在响应头中,就会看到有一个Set-Cookie的响应头,里面响应回来了一个Cookie,就是JSESSIONID,这个就是服务端会话对象 Session 的ID。
B. 访问 s2 接口,http://localhost:8080/s2

接下来,在后续的每次请求时,都会将Cookie的值,携带到服务端,那服务端呢,接收到Cookie之后,会自动的根据JSESSIONID的值,找到对应的会话对象Session。
那经过这两步测试,大家也会看到,在控制台中输出如下日志:

两次请求,获取到的Session会话对象的hashcode是一样的,就说明是同一个会话对象。而且,第一次请求时,往Session会话对象中存储的值,第二次请求时,也获取到了。 那这样,我们就可以通过Session会话对象,在同一个会话的多次请求之间来进行数据共享了。
优缺点
优点:Session是存储在服务端的,安全
缺点:
服务器集群环境下无法直接使用Session
移动端APP(Android、IOS)中无法使用Cookie
用户可以自己禁用Cookie
Cookie不能跨域
PS:Session 底层是基于Cookie实现的会话跟踪,如果Cookie不可用,则该方案,也就失效了。
服务器集群环境为何无法使用Session?
首先第一点,我们现在所开发的项目,一般都不会只部署在一台服务器上,因为一台服务器会存在一个很大的问题,就是单点故障。所谓单点故障,指的就是一旦这台服务器挂了,整个应用都没法访问了。
所以在现在的企业项目开发当中,最终部署的时候都是以集群的形式来进行部署,也就是同一个项目它会部署多份。比如这个项目我们现在就部署了 3 份。
而用户在访问的时候,到底访问这三台其中的哪一台?其实用户在访问的时候,他会访问一台前置的服务器,我们叫负载均衡服务器,我们在后面项目当中会详细讲解。目前大家先有一个印象负载均衡服务器,它的作用就是将前端发起的请求均匀的分发给后面的这三台服务器。
image-20230112113558810 此时假如我们通过 session 来进行会话跟踪,可能就会存在这样一个问题。用户打开浏览器要进行登录操作,此时会发起登录请求。登录请求到达负载均衡服务器,将这个请求转给了第一台 Tomcat 服务器。
Tomcat 服务器接收到请求之后,要获取到会话对象session。获取到会话对象 session 之后,要给浏览器响应数据,最终在给浏览器响应数据的时候,就会携带这么一个 cookie 的名字,就是 JSESSIONID ,下一次再请求的时候,是不是又会将 Cookie 携带到服务端?
好。此时假如又执行了一次查询操作,要查询部门的数据。这次请求到达负载均衡服务器之后,负载均衡服务器将这次请求转给了第二台 Tomcat 服务器,此时他就要到第二台 Tomcat 服务器当中。根据JSESSIONID 也就是对应的 session 的 ID 值,要找对应的 session 会话对象。
我想请问在第二台服务器当中有没有这个ID的会话对象 Session, 是没有的。此时是不是就出现问题了?我同一个浏览器发起了 2 次请求,结果获取到的不是同一个会话对象,这就是Session这种会话跟踪方案它的缺点,在服务器集群环境下无法直接使用Session。
大家会看到上面这两种传统的会话技术,在现在的企业开发当中是不是会存在很多的问题。 为了解决这些问题,在现在的企业开发当中,基本上都会采用第三种方案,通过令牌技术来进行会话跟踪。接下来我们就来介绍一下令牌技术,来看一下令牌技术又是如何跟踪会话的。
2.2.2.3 方案三 - 令牌技术
这里我们所提到的令牌,其实它就是一个用户身份的标识,看似很高大上,很神秘,其实本质就是一个字符串。

如果通过令牌技术来跟踪会话,我们就可以在浏览器发起请求。在请求登录接口的时候,如果登录成功,我就可以生成一个令牌,令牌就是用户的合法身份凭证。接下来我在响应数据的时候,我就可以直接将令牌响应给前端。
接下来我们在前端程序当中接收到令牌之后,就需要将这个令牌存储起来。这个存储可以存储在 cookie 当中,也可以存储在其他的存储空间(比如:localStorage)当中。
接下来,在后续的每一次请求当中,都需要将令牌携带到服务端。携带到服务端之后,接下来我们就需要来校验令牌的有效性。如果令牌是有效的,就说明用户已经执行了登录操作,如果令牌是无效的,就说明用户之前并未执行登录操作。
此时,如果是在同一次会话的多次请求之间,我们想共享数据,我们就可以将共享的数据存储在令牌当中就可以了。
优缺点
优点:
支持PC端、移动端
解决集群环境下的认证问题
减轻服务器的存储压力(无需在服务器端存储)
缺点:需要自己实现(包括令牌的生成、令牌的传递、令牌的校验)
针对于这三种方案,现在企业开发当中使用的最多的就是第三种令牌技术进行会话跟踪。而前面的这两种传统的方案,现在企业项目开发当中已经很少使用了。所以在我们的课程当中,我们也将会采用令牌技术来解决案例项目当中的会话跟踪问题。
2.3 JWT令牌
前面我们介绍了基于令牌技术来实现会话追踪。这里所提到的令牌就是用户身份的标识,其本质就是一个字符串。令牌的形式有很多,我们使用的是功能强大的 JWT令牌。
2.3.1 介绍
JWT全称:JSON Web Token (官网:https://jwt.io/)
定义了一种简洁的、自包含的格式,用于在通信双方以json数据格式安全的传输信息。由于数字签名的存在,这些信息是可靠的。
简洁:是指jwt就是一个简单的字符串。可以在请求参数或者是请求头当中直接传递。
自包含:指的是jwt令牌,看似是一个随机的字符串,但是我们是可以根据自身的需求在jwt令牌中存储自定义的数据内容。如:可以直接在jwt令牌中存储用户的相关信息。
简单来讲,jwt就是将原始的json数据格式进行了安全的封装,这样就可以直接基于jwt在通信双方安全的进行信息传输了。
JWT的组成: (JWT令牌由三个部分组成,三个部分之间使用英文的点来分割)
第一部分:Header(头), 记录令牌类型、签名算法等。 例如:
{"alg":"HS256","type":"JWT"}第二部分:Payload(有效载荷),携带一些自定义信息、默认信息等。 例如:
{"id":"1","username":"Tom"}第三部分:Signature(签名),防止Token被篡改、确保安全性。将header、payload,并加入指定秘钥,通过指定签名算法计算而来。
签名的目的就是为了防jwt令牌被篡改,而正是因为jwt令牌最后一个部分数字签名的存在,所以整个jwt 令牌是非常安全可靠的。一旦jwt令牌当中任何一个部分、任何一个字符被篡改了,整个令牌在校验的时候都会失败,所以它是非常安全可靠的。

JWT是如何将原始的JSON格式数据,转变为字符串的呢?
其实在生成JWT令牌时,会对JSON格式的数据进行一次编码:进行base64编码
Base64:是一种基于64个可打印的字符来表示二进制数据的编码方式。既然能编码,那也就意味着也能解码。所使用的64个字符分别是A到Z、a到z、 0- 9,一个加号,一个斜杠,加起来就是64个字符。任何数据经过base64编码之后,最终就会通过这64个字符来表示。当然还有一个符号,那就是等号。等号它是一个补位的符号
需要注意的是Base64是编码方式,而不是加密方式。

JWT令牌最典型的应用场景就是登录认证:
在浏览器发起请求来执行登录操作,此时会访问登录的接口,如果登录成功之后,我们需要生成一个jwt令牌,将生成的 jwt令牌返回给前端。
前端拿到jwt令牌之后,会将jwt令牌存储起来。在后续的每一次请求中都会将jwt令牌携带到服务端。
服务端统一拦截请求之后,先来判断一下这次请求有没有把令牌带过来,如果没有带过来,直接拒绝访问,如果带过来了,还要校验一下令牌是否是有效。如果有效,就直接放行进行请求的处理。
在JWT登录认证的场景中我们发现,整个流程当中涉及到两步操作:
在登录成功之后,要生成令牌。
每一次请求当中,要接收令牌并对令牌进行校验。
稍后我们再来学习如何来生成jwt令牌,以及如何来校验jwt令牌。
2.3.2 生成和校验
简单介绍了JWT令牌以及JWT令牌的组成之后,接下来我们就来学习基于Java代码如何生成和校验JWT令牌。
首先我们先来实现JWT令牌的生成。要想使用JWT令牌,需要先引入JWT的依赖:
在引入完JWT来赖后,就可以调用工具包中提供的API来完成JWT令牌的生成和校验
工具类:Jwts
生成JWT代码实现:
运行测试方法:
输出的结果就是生成的JWT令牌,,通过英文的点分割对三个部分进行分割,我们可以将生成的令牌复制一下,然后打开JWT的官网,将生成的令牌直接放在Encoded位置,此时就会自动的将令牌解析出来。

第一部分解析出来,看到JSON格式的原始数据,所使用的签名算法为HS256。
第二个部分是我们自定义的数据,之前我们自定义的数据就是id,还有一个exp代表的是我们所设置的过期时间。
由于前两个部分是base64编码,所以是可以直接解码出来。但最后一个部分并不是base64编码,是经过签名算法计算出来的,所以最后一个部分是不会解析的。
实现了JWT令牌的生成,下面我们接着使用Java代码来校验JWT令牌(解析生成的令牌):
运行测试方法:
令牌解析后,我们可以看到id和过期时间,如果在解析的过程当中没有报错,就说明解析成功了。
下面我们做一个测试:把令牌header中的数字9变为8,运行测试方法后发现报错:
原header: eyJhbGciOiJIUzI1NiJ9
修改为: eyJhbGciOiJIUzI1NiJ8

结论:篡改令牌中的任何一个字符,在对令牌进行解析时都会报错,所以JWT令牌是非常安全可靠的。
我们继续测试:修改生成令牌的时指定的过期时间,修改为1分钟
等待1分钟之后运行测试方法发现也报错了,说明:JWT令牌过期后,令牌就失效了,解析的为非法令牌。
通过以上测试,我们在使用JWT令牌时需要注意:
JWT校验时使用的签名秘钥,必须和生成JWT令牌时使用的秘钥是配套的。
如果JWT令牌解析校验时报错,则说明 JWT令牌被篡改 或 失效了,令牌非法。
2.3.3 登录下发令牌
JWT令牌的生成和校验的基本操作我们已经学习完了,接下来我们就需要在案例当中通过JWT令牌技术来跟踪会话。具体的思路我们前面已经分析过了,主要就是两步操作:
生成令牌
在登录成功之后来生成一个JWT令牌,并且把这个令牌直接返回给前端
校验令牌
拦截前端请求,从请求中获取到令牌,对令牌进行解析校验
那我们首先来完成:登录成功之后生成JWT令牌,并且把令牌返回给前端。
JWT令牌怎么返回给前端呢?此时我们就需要再来看一下接口文档当中关于登录接口的描述(主要看响应数据):
响应数据
参数格式:application/json
参数说明:
code
number
必须
响应码, 1 成功 ; 0 失败
msg
string
非必须
提示信息
data
string
必须
返回的数据 , jwt令牌
响应数据样例:
备注说明
用户登录成功后,系统会自动下发JWT令牌,然后在后续的每次请求中,都需要在请求头header中携带到服务端,请求头的名称为 token ,值为 登录时下发的JWT令牌。
如果检测到用户未登录,则会返回如下固定错误信息:
解读完接口文档中的描述了,目前我们先来完成令牌的生成和令牌的下发,我们只需要生成一个令牌返回给前端就可以了。
实现步骤:
引入JWT工具类
在项目工程下创建com.itheima.utils包,并把提供JWT工具类复制到该包下
登录完成后,调用工具类生成JWT令牌并返回
JWT工具类
登录成功,生成JWT令牌并返回
重启服务,打开postman测试登录接口:

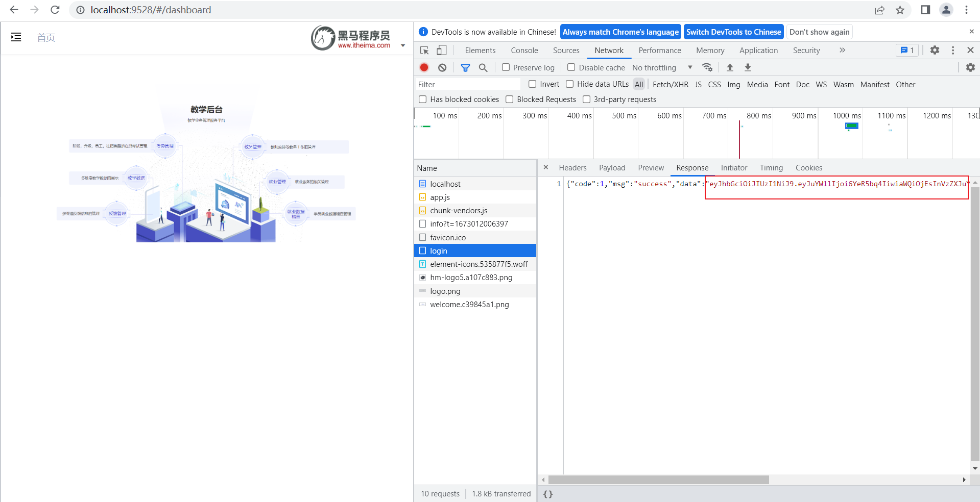
打开浏览器完成前后端联调操作:利用开发者工具,抓取一下网络请求

登录请求完成后,可以看到JWT令牌已经响应给了前端,此时前端就会将JWT令牌存储在浏览器本地。
服务器响应的JWT令牌存储在本地浏览器哪里了呢?
在当前案例中,JWT令牌存储在浏览器的本地存储空间local storage中了。 local storage是浏览器的本地存储,在移动端也是支持的。

我们在发起一个查询部门数据的请求,此时我们可以看到在请求头中包含一个token(JWT令牌),后续的每一次请求当中,都会将这个令牌携带到服务端。

2.4 过滤器Filter
刚才通过浏览器的开发者工具,我们可以看到在后续的请求当中,都会在请求头中携带JWT令牌到服务端,而服务端需要统一拦截所有的请求,从而判断是否携带的有合法的JWT令牌。 那怎么样来统一拦截到所有的请求校验令牌的有效性呢?这里我们会学习两种解决方案:
Filter过滤器
Interceptor拦截器
我们首先来学习过滤器Filter。
2.4.1 快速入门
什么是Filter?
Filter表示过滤器,是 JavaWeb三大组件(Servlet、Filter、Listener)之一。
过滤器可以把对资源的请求拦截下来,从而实现一些特殊的功能
使用了过滤器之后,要想访问web服务器上的资源,必须先经过滤器,过滤器处理完毕之后,才可以访问对应的资源。
过滤器一般完成一些通用的操作,比如:登录校验、统一编码处理、敏感字符处理等。

下面我们通过Filter快速入门程序掌握过滤器的基本使用操作:
第1步,定义过滤器 :1.定义一个类,实现 Filter 接口,并重写其所有方法。
第2步,配置过滤器:Filter类上加 @WebFilter 注解,配置拦截资源的路径。引导类上加 @ServletComponentScan 开启Servlet组件支持。
定义过滤器
init方法:过滤器的初始化方法。在web服务器启动的时候会自动的创建Filter过滤器对象,在创建过滤器对象的时候会自动调用init初始化方法,这个方法只会被调用一次。
doFilter方法:这个方法是在每一次拦截到请求之后都会被调用,所以这个方法是会被调用多次的,每拦截到一次请求就会调用一次doFilter()方法。
destroy方法: 是销毁的方法。当我们关闭服务器的时候,它会自动的调用销毁方法destroy,而这个销毁方法也只会被调用一次。
在定义完Filter之后,Filter其实并不会生效,还需要完成Filter的配置,Filter的配置非常简单,只需要在Filter类上添加一个注解:@WebFilter,并指定属性urlPatterns,通过这个属性指定过滤器要拦截哪些请求
当我们在Filter类上面加了@WebFilter注解之后,接下来我们还需要在启动类上面加上一个注解@ServletComponentScan,通过这个@ServletComponentScan注解来开启SpringBoot项目对于Servlet组件的支持。
重新启动服务,打开浏览器,执行部门管理的请求,可以看到控制台输出了过滤器中的内容:

注意事项:
在过滤器Filter中,如果不执行放行操作,将无法访问后面的资源。 放行操作:chain.doFilter(request, response);
现在我们已完成了Filter过滤器的基本使用,下面我们将学习Filter过滤器在使用过程中的一些细节。
2.4.2 Filter详解
Filter过滤器的快速入门程序我们已经完成了,接下来我们就要详细的介绍一下过滤器Filter在使用中的一些细节。主要介绍以下3个方面的细节:
过滤器的执行流程
过滤器的拦截路径配置
过滤器链
2.4.2.1 执行流程
首先我们先来看下过滤器的执行流程:

过滤器当中我们拦截到了请求之后,如果希望继续访问后面的web资源,就要执行放行操作,放行就是调用 FilterChain对象当中的doFilter()方法,在调用doFilter()这个方法之前所编写的代码属于放行之前的逻辑。
在放行后访问完 web 资源之后还会回到过滤器当中,回到过滤器之后如有需求还可以执行放行之后的逻辑,放行之后的逻辑我们写在doFilter()这行代码之后。

2.4.2.2 拦截路径
执行流程我们搞清楚之后,接下来再来介绍一下过滤器的拦截路径,Filter可以根据需求,配置不同的拦截资源路径:
拦截具体路径
/login
只有访问 /login 路径时,才会被拦截
目录拦截
/emps/*
访问/emps下的所有资源,都会被拦截
拦截所有
/*
访问所有资源,都会被拦截
下面我们来测试"拦截具体路径":
测试1:访问部门管理请求,发现过滤器没有拦截请求


测试2:访问登录请求/login,发现过滤器拦截请求

下面我们来测试"目录拦截":
测试1:访问部门管理请求,发现过滤器拦截了请求

测试2:访问登录请求/login,发现过滤器没有拦截请求

2.4.2.3 过滤器链
最后我们在来介绍下过滤器链,什么是过滤器链呢?所谓过滤器链指的是在一个web应用程序当中,可以配置多个过滤器,多个过滤器就形成了一个过滤器链。

比如:在我们web服务器当中,定义了两个过滤器,这两个过滤器就形成了一个过滤器链。
而这个链上的过滤器在执行的时候会一个一个的执行,会先执行第一个Filter,放行之后再来执行第二个Filter,如果执行到了最后一个过滤器放行之后,才会访问对应的web资源。
访问完web资源之后,按照我们刚才所介绍的过滤器的执行流程,还会回到过滤器当中来执行过滤器放行后的逻辑,而在执行放行后的逻辑的时候,顺序是反着的。
先要执行过滤器2放行之后的逻辑,再来执行过滤器1放行之后的逻辑,最后在给浏览器响应数据。
以上就是当我们在web应用当中配置了多个过滤器,形成了这样一个过滤器链以及过滤器链的执行顺序。下面我们通过idea来验证下过滤器链。
验证步骤:
在filter包下再来新建一个Filter过滤器类:AbcFilter
在AbcFilter过滤器中编写放行前和放行后逻辑
配置AbcFilter过滤器拦截请求路径为:/*
重启SpringBoot服务,查看DemoFilter、AbcFilter的执行日志

AbcFilter过滤器
DemoFilter过滤器
打开浏览器访问登录接口:

通过控制台日志的输出,大家发现AbcFilter先执行DemoFilter后执行,这是为什么呢?
其实是和过滤器的类名有关系。以注解方式配置的Filter过滤器,它的执行优先级是按时过滤器类名的自动排序确定的,类名排名越靠前,优先级越高。
假如我们想让DemoFilter先执行,怎么办呢?答案就是修改类名。
测试:修改AbcFilter类名为XbcFilter,运行程序查看控制台日志

到此,关于过滤器的使用细节,我们已经全部介绍完毕了。
2.4.3 登录校验-Filter
2.4.3.1 分析
过滤器Filter的快速入门以及使用细节我们已经介绍完了,接下来最后一步,我们需要使用过滤器Filter来完成案例当中的登录校验功能。

我们先来回顾下前面分析过的登录校验的基本流程:
要进入到后台管理系统,我们必须先完成登录操作,此时就需要访问登录接口login。
登录成功之后,我们会在服务端生成一个JWT令牌,并且把JWT令牌返回给前端,前端会将JWT令牌存储下来。
在后续的每一次请求当中,都会将JWT令牌携带到服务端,请求到达服务端之后,要想去访问对应的业务功能,此时我们必须先要校验令牌的有效性。
对于校验令牌的这一块操作,我们使用登录校验的过滤器,在过滤器当中来校验令牌的有效性。如果令牌是无效的,就响应一个错误的信息,也不会再去放行访问对应的资源了。如果令牌存在,并且它是有效的,此时就会放行去访问对应的web资源,执行相应的业务操作。
大概清楚了在Filter过滤器的实现步骤了,那在正式开发登录校验过滤器之前,我们思考两个问题:
所有的请求,拦截到了之后,都需要校验令牌吗?
答案:登录请求例外
拦截到请求后,什么情况下才可以放行,执行业务操作?
答案:有令牌,且令牌校验通过(合法);否则都返回未登录错误结果
2.4.3.2 具体流程
我们要完成登录校验,主要是利用Filter过滤器实现,而Filter过滤器的流程步骤:

基于上面的业务流程,我们分析出具体的操作步骤:
获取请求url
判断请求url中是否包含login,如果包含,说明是登录操作,放行
获取请求头中的令牌(token)
判断令牌是否存在,如果不存在,返回错误结果(未登录)
解析token,如果解析失败,返回错误结果(未登录)
放行
2.4.3.3 代码实现
分析清楚了以上的问题后,我们就参照接口文档来开发登录功能了,登录接口描述如下:
基本信息
请求参数
参数格式:application/json
参数说明:
username
string
必须
用户名
password
string
必须
密码
请求数据样例:
响应数据
参数格式:application/json
参数说明:
code
number
必须
响应码, 1 成功 ; 0 失败
msg
string
非必须
提示信息
data
string
必须
返回的数据 , jwt令牌
响应数据样例:
备注说明
用户登录成功后,系统会自动下发JWT令牌,然后在后续的每次请求中,都需要在请求头header中携带到服务端,请求头的名称为 token ,值为 登录时下发的JWT令牌。
如果检测到用户未登录,则会返回如下固定错误信息:
登录校验过滤器:LoginCheckFilter
在上述过滤器的功能实现中,我们使用到了一个第三方json处理的工具包fastjson。我们要想使用,需要引入如下依赖:
登录校验的过滤器我们编写完成了,接下来我们就可以重新启动服务来做一个测试:
测试前先把之前所编写的测试使用的过滤器,暂时注释掉。直接将@WebFilter注解给注释掉即可。
测试1:未登录是否可以访问部门管理页面
首先关闭浏览器,重新打开浏览器,在地址栏中输入:http://localhost:9528/#/system/dept
由于用户没有登录,登录校验过滤器返回错误信息,前端页面根据返回的错误信息结果,自动跳转到登录页面了

image-20230105085212629 测试2:先进行登录操作,再访问部门管理页面
登录校验成功之后,可以正常访问相关业务操作页面

image-20230107102922550
2.5 拦截器Interceptor
学习完了过滤器Filter之后,接下来我们继续学习拦截器Interseptor。
拦截器我们主要分为三个方面进行讲解:
介绍下什么是拦截器,并通过快速入门程序上手拦截器
拦截器的使用细节
通过拦截器Interceptor完成登录校验功能
我们先学习第一块内容:拦截器快速入门
2.5.1 快速入门
什么是拦截器?
是一种动态拦截方法调用的机制,类似于过滤器。
拦截器是Spring框架中提供的,用来动态拦截控制器方法的执行。
拦截器的作用:
拦截请求,在指定方法调用前后,根据业务需要执行预先设定的代码。
在拦截器当中,我们通常也是做一些通用性的操作,比如:我们可以通过拦截器来拦截前端发起的请求,将登录校验的逻辑全部编写在拦截器当中。在校验的过程当中,如发现用户登录了(携带JWT令牌且是合法令牌),就可以直接放行,去访问spring当中的资源。如果校验时发现并没有登录或是非法令牌,就可以直接给前端响应未登录的错误信息。
下面我们通过快速入门程序,来学习下拦截器的基本使用。拦截器的使用步骤和过滤器类似,也分为两步:
定义拦截器
注册配置拦截器
自定义拦截器: 实现HandlerInterceptor接口,并重写其所有方法
注意:
preHandle方法:目标资源方法执行前执行。 返回true:放行 返回false:不放行
postHandle方法:目标资源方法执行后执行
afterCompletion方法:视图渲染完毕后执行,最后执行
注册配置拦截器:实现WebMvcConfigurer接口,并重写addInterceptors方法
重新启动SpringBoot服务,打开postman测试:


接下来我们再来做一个测试:将拦截器中返回值改为false
使用postman,再次点击send发送请求后,没有响应数据,说明请求被拦截了没有放行
2.5.2 Interceptor详解
拦截器的入门程序完成之后,接下来我们来介绍拦截器的使用细节。拦截器的使用细节我们主要介绍两个部分:
拦截器的拦截路径配置
拦截器的执行流程
2.5.2.1 拦截路径
首先我们先来看拦截器的拦截路径的配置,在注册配置拦截器的时候,我们要指定拦截器的拦截路径,通过addPathPatterns("要拦截路径")方法,就可以指定要拦截哪些资源。
在入门程序中我们配置的是/**,表示拦截所有资源,而在配置拦截器时,不仅可以指定要拦截哪些资源,还可以指定不拦截哪些资源,只需要调用excludePathPatterns("不拦截路径")方法,指定哪些资源不需要拦截。
在拦截器中除了可以设置/**拦截所有资源外,还有一些常见拦截路径设置:
/*
一级路径
能匹配/depts,/emps,/login,不能匹配 /depts/1
/**
任意级路径
能匹配/depts,/depts/1,/depts/1/2
/depts/*
/depts下的一级路径
能匹配/depts/1,不能匹配/depts/1/2,/depts
/depts/**
/depts下的任意级路径
能匹配/depts,/depts/1,/depts/1/2,不能匹配/emps/1
下面主要来演示下/**与/*的区别:
修改拦截器配置,把拦截路径设置为
/*
使用postman测试:http://localhost:8080/emps/1

控制台没有输出拦截器中的日志信息,说明/*没有匹配到拦截路径/emp/1 。

2.5.2.2 执行流程
介绍完拦截路径的配置之后,接下来我们再来介绍拦截器的执行流程。通过执行流程,大家就能够清晰的知道过滤器与拦截器的执行时机。

当我们打开浏览器来访问部署在web服务器当中的web应用时,此时我们所定义的过滤器会拦截到这次请求。拦截到这次请求之后,它会先执行放行前的逻辑,然后再执行放行操作。而由于我们当前是基于springboot开发的,所以放行之后是进入到了spring的环境当中,也就是要来访问我们所定义的controller当中的接口方法。
Tomcat并不识别所编写的Controller程序,但是它识别Servlet程序,所以在Spring的Web环境中提供了一个非常核心的Servlet:DispatcherServlet(前端控制器),所有请求都会先进行到DispatcherServlet,再将请求转给Controller。
当我们定义了拦截器后,会在执行Controller的方法之前,请求被拦截器拦截住。执行
preHandle()方法,这个方法执行完成后需要返回一个布尔类型的值,如果返回true,就表示放行本次操作,才会继续访问controller中的方法;如果返回false,则不会放行(controller中的方法也不会执行)。在controller当中的方法执行完毕之后,再回过来执行
postHandle()这个方法以及afterCompletion()方法,然后再返回给DispatcherServlet,最终再来执行过滤器当中放行后的这一部分逻辑的逻辑。执行完毕之后,最终给浏览器响应数据。
接下来我们就来演示下过滤器和拦截器同时存在的执行流程:
开启LoginCheckInterceptor拦截器
开启DemoFilter过滤器
重启SpringBoot服务后,清空日志,打开Postman,测试查询部门:


以上就是拦截器的执行流程。通过执行流程分析,大家应该已经清楚了过滤器和拦截器之间的区别,其实它们之间的区别主要是两点:
接口规范不同:过滤器需要实现Filter接口,而拦截器需要实现HandlerInterceptor接口。
拦截范围不同:过滤器Filter会拦截所有的资源,而Interceptor只会拦截Spring环境中的资源。
2.5.3 登录校验- Interceptor
讲解完了拦截器的基本操作之后,接下来我们需要完成最后一步操作:通过拦截器来完成案例当中的登录校验功能。
登录校验的业务逻辑以及操作步骤我们前面已经分析过了,和登录校验Filter过滤器当中的逻辑是完全一致的。现在我们只需要把这个技术方案由原来的过滤器换成拦截器interceptor就可以了。
登录校验拦截器
注册配置拦截器
登录校验的拦截器编写完成后,接下来我们就可以重新启动服务来做一个测试: (关闭登录校验Filter过滤器)
测试1:未登录是否可以访问部门管理页面
首先关闭浏览器,重新打开浏览器,在地址栏中输入:http://localhost:9528/#/system/dept
由于用户没有登录,校验机制返回错误信息,前端页面根据返回的错误信息结果,自动跳转到登录页面了

image-20230105085212629 测试2:先进行登录操作,再访问部门管理页面
登录校验成功之后,可以正常访问相关业务操作页面

image-20230107102922550
到此我们也就验证了所开发的登录校验的拦截器也是没问题的。登录校验的过滤器和拦截器,我们只需要使用其中的一种就可以了。
3. 异常处理
3.1 当前问题
登录功能和登录校验功能我们都实现了,下面我们学习下今天最后一块技术点:异常处理。首先我们先来看一下系统出现异常之后会发生什么现象,再来介绍异常处理的方案。
我们打开浏览器,访问系统中的新增部门操作,系统中已经有了 "就业部" 这个部门,我们再来增加一个就业部,看看会发生什么现象。

点击确定之后,窗口关闭了,页面没有任何反应,就业部也没有添加上。 而此时,大家会发现,网络请求报错了。

状态码为500,表示服务器端异常,我们打开idea,来看一下,服务器端出了什么问题。

上述错误信息的含义是,dept部门表的name字段的值 就业部 重复了,因为在数据库表dept中已经有了就业部,我们之前设计这张表时,为name字段建议了唯一约束,所以该字段的值是不能重复的。
而当我们再添加就业部,这个部门时,就违反了唯一约束,此时就会报错。
我们来看一下出现异常之后,最终服务端给前端响应回来的数据长什么样。

响应回来的数据是一个JSON格式的数据。但这种JSON格式的数据还是我们开发规范当中所提到的统一响应结果Result吗?显然并不是。由于返回的数据不符合开发规范,所以前端并不能解析出响应的JSON数据。
接下来我们需要思考的是出现异常之后,当前案例项目的异常是怎么处理的?
答案:没有做任何的异常处理

当我们没有做任何的异常处理时,我们三层架构处理异常的方案:
Mapper接口在操作数据库的时候出错了,此时异常会往上抛(谁调用Mapper就抛给谁),会抛给service。
service 中也存在异常了,会抛给controller。
而在controller当中,我们也没有做任何的异常处理,所以最终异常会再往上抛。最终抛给框架之后,框架就会返回一个JSON格式的数据,里面封装的就是错误的信息,但是框架返回的JSON格式的数据并不符合我们的开发规范。
3.2 解决方案
那么在三层构架项目中,出现了异常,该如何处理?
方案一:在所有Controller的所有方法中进行try…catch处理
缺点:代码臃肿(不推荐)
方案二:全局异常处理器
好处:简单、优雅(推荐)

3.3 全局异常处理器
我们该怎么样定义全局异常处理器?
定义全局异常处理器非常简单,就是定义一个类,在类上加上一个注解@RestControllerAdvice,加上这个注解就代表我们定义了一个全局异常处理器。
在全局异常处理器当中,需要定义一个方法来捕获异常,在这个方法上需要加上注解@ExceptionHandler。通过@ExceptionHandler注解当中的value属性来指定我们要捕获的是哪一类型的异常。
@RestControllerAdvice = @ControllerAdvice + @ResponseBody
处理异常的方法返回值会转换为json后再响应给前端
重新启动SpringBoot服务,打开浏览器,再来测试一下添加部门这个操作,我们依然添加已存在的 "就业部" 这个部门:


此时,我们可以看到,出现异常之后,异常已经被全局异常处理器捕获了。然后返回的错误信息,被前端程序正常解析,然后提示出了对应的错误提示信息。
以上就是全局异常处理器的使用,主要涉及到两个注解:
@RestControllerAdvice //表示当前类为全局异常处理器
@ExceptionHandler //指定可以捕获哪种类型的异常进行处理
Last updated



